7

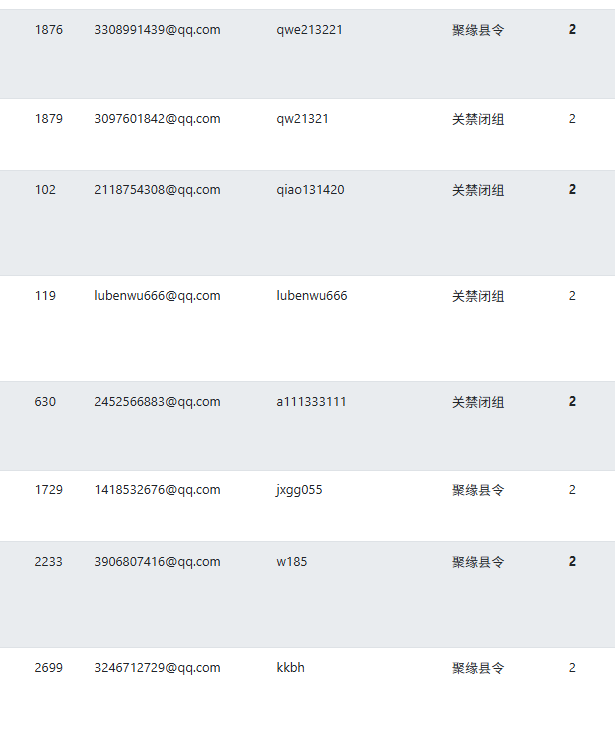
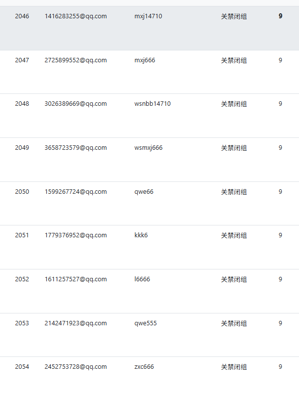
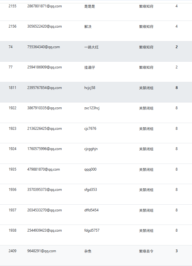
那么喜欢多账号就全部一起进小黑屋!不要来问我为什么封你!

败家小陈
2天前 431

这些傻逼那么喜欢开多账号? ?那就全部进小黑屋!

如果你不是多账号是我封错你 请你告诉我

最新回复 (7)
  • 败家小陈 楼主 1天前 0
    8

    q1545216088 这个喜和蛇也封了吧
    封了

  • aiwu88 1天前 0
    7

    我的猪脚饭都被他们吃了

  • qwer1991qq 1天前 0
    6

    牛逼

  • 奉献出 1天前 0
    5

    支持小陈

  • 总输记 2天前 0
    4

    往死里封,支持

  • q1545216088 2天前 0
    3

    这个喜和蛇也封了吧

  • 暖生 2天前 0
    2

    666,怎么查出来的

请先登录后发表评论!

返回
请先登录后发表评论!
7